您的位置:开云(中国大陆) > >产业板块 > >港航物流 > >梁山港 > >新闻动态 >

“梁山港”商标全部通过国家知识产权商标局审核

发布日期:2022-10-06

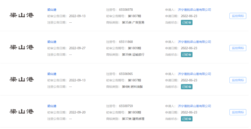
为打造“梁山港”品牌,提升梁山港品牌影响力,满足公司品牌战略及市场发展需要,防范其他企业及自然人注册“梁山港”商标,梁山港于2022年6月23日向国家知识产权商标局分4大类的40个小类分别申请注册“梁山港”商标。

微信截图_20221006095114.png

经过国家知识产权商标局的受理和初审程序,对梁山港申请的广告贸易类、燃料油脂类、建筑修理类和运输旅行四大类的40个小类的商标注册进行了商标初步审定公告,自公告发出后三个月后无异议将完成商标注册。

此次“梁山港”商标通过初审进行初步审定公告,标志着“梁山港”品牌战略的打造迈出了关键的一步,通过“梁山港”的商标注册,公司可以真正地创立“梁山港”品牌,抢先占领市场。

/图丨李贝贝(梁山港)

上一篇:

下一篇: